FLACHWAGEN FÜR TRANSPORT VON SCHIENEN-JOCHEN - 442Z
Eine interessante Lösung für den Gleisbau ist ein Ganzzug aus speziell konstruierten Flachwagen.
Der Wagen wurde auf der Grundlage der polnischen 4-achsigen Flachwagen der Serie Sgs (412Z) konstruiert. Er besitzt die 2-achsigen, RIV-zugelassenen Drehgestelle der Type 1XTa/B. Die wesentlichen Parameter sind identisch. Allerdings ist der kleinste befahrbare Bogen anders - bei 412Z beträgt er 35 m und bei 442Z - 75 m.
Der Wagen besitzt auf beiden Längsseiten Schienen, auf welchen ein selbstfahrender Hebekran fahren kann. dabei kann er die auf dem Wagen liegenden Schienenjoche anheben und seitlich zur Streckenmontage abladen. Durch je zwei gegenüberliegende, herunterklappbare Verbindungszapfen kann ein kompletter Ganzzug derart verbunden sein, dass auf ihm selbst während der Fahrt der Schienenkran fahren kann.

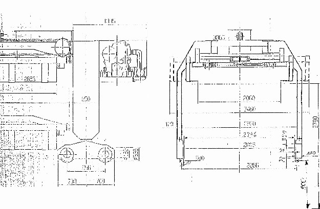
Die Frontposition
zeigt dieses Bild.
Die Wagenkonstruktion ist für die Arbeit mehrerer Krantypen vorbereitet, z.B. Matisa Portique P93-KMD , die zusammen mit den angehobenen Schienenjochen maximal 33 t wiegen können.


Die nachfolgenden Zeichnungen geben
wesentliche Abmessungen von Wagen und Kran wieder.
Das übliche RIV-Lichtraumprofil wird eingehalten.
Die nachfolgende Zeichnung zeigt, wie die Schienen mitsamt Schwellen auf dem Wagen für den Transport gelagert und befestigt werden können.

HAUPTCHARAKTERISTIK DES WAGENS 442Z
Umrisszeichnung laut UIC 505-1 RIV ja Spurweite 1435 mm Drehgestelle 1XTa/B Länge über Puffer 19900 mm Ladelänge 18300 mm max. Breite 3037 mm Ladebreite 2278 mm Fussbodenhöhe über Schienenkopf b.neuem Wagen leer 1251 mm Drehzapfenabstand 14600 mm Nutzfläche des Bodens 41,7 m² Höhe der Nutzfläche (zw.Fussboden u.Oberfläche der Säulen) 1530 mm Eigengewicht 24 t max. Ladegewicht 56 t max. Druck eines Radsatzes auf Schiene, Waggon beladen 20 t max. Gleisbelastung 4,02 t/m min. befahrb. Bogen Einzelwagen 75 m max. Winkel bei Fahrt S-förmiges Gleis m. 120 m-Bogen 1°30' pneumatische Bremse GP-A Oerlikon Handbremse vom Gleishöhe aus zu bedienen vorhanden Abstand ab Pufferachse bis Schienenkopf, Leerwagen 1050 mm max. Belastung der Fahrtschienen durch Kran m.Ladung 33 t min. bef. Bogen bei Wagen-Verbindung (2 Wagen verbunden) 190 m Höchstgeschwindigkeit v max 100 km/h